Operation CHARM
: Car repair manuals for everyone.
Home
>>
Ford
>>
1993
>>
Probe L4-121 2.0L DOHC VIN A MFI
>>
Repair and Diagnosis
>>
Diagrams
>>
Connector Views
>>
Fuel Pump Relay
Fuel Pump Relay
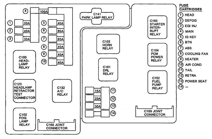
Engine Compartment Fuse Box (1 Of 2):
Engine Compartment Fuse Box (2 Of 2):