Disassembly and Assembly
DISASSEMBLEExploded View Of Front And Premain Valve Bodies:

Exploded View Of Main And Rear Valve Bodies:

NOTE: Refer to the Exploded View Of Front And Premain Valve Bodies and the Exploded View Of Main And Rear Valve Bodies during disassembling and assembling procedures.
CAUTION: Each valve body bolt has a letter on the bolt head which matches the letter placed near the bolt hole.
NOTE: Shift solenoid valves are serviced separately from the valve body.
1. Using transaxle oil temperature sensor remover/replacer tool No. T92C- 77000-AH or equivalent, remove transaxle oil temperature sensor.
2. Remove line pressure solenoid, torque converter clutch solenoid, and downshift solenoid.
3. Remove 1-2 shift solenoid and torque converter clutch control solenoid.
4. Remove fluid strainers and 0-rings.
5. Remove front valve body bolts, front valve body, front gasket, front separator plate, and premain front gasket.
Front Valve Body Check Ball Location:

6. Remove front separator plate, front gasket and check ball from front valve body.
Premain Valve Body Check Ball Location:

7. Remove check ball from premain valve body.
8. Remove premain valve body bolts, premain valve body, and main separator plate and gaskets.
Premain Valve Body Check Ball And Fluid Strainer Locations:

9. Remove jet orifices and nuts from main separator plate, then the two check balls and fluid strainer from premain valve body.
Main Valve Body Check Ball And Fluid Strainer Locations:

10. Remove check ball and fluid strainer from main valve body.
11. Remove oil pipe, 0-rings, oil baffle, 2-3 shift solenoid, and 3-4 shift solenoid.
12. Remove rear valve body bolts, rear valve body, rear separator plate, and gaskets.
Rear Valve Body Check Ball And Fluid Strainer Locations:

13. Remove rear separator plate and gaskets, then the two check balls and four fluid strainers from rear valve body.
Main Valve Body Check Ball And Fluid Strainer Locations:

14. Remove seven check balls and three fluid strainers from main valve body.
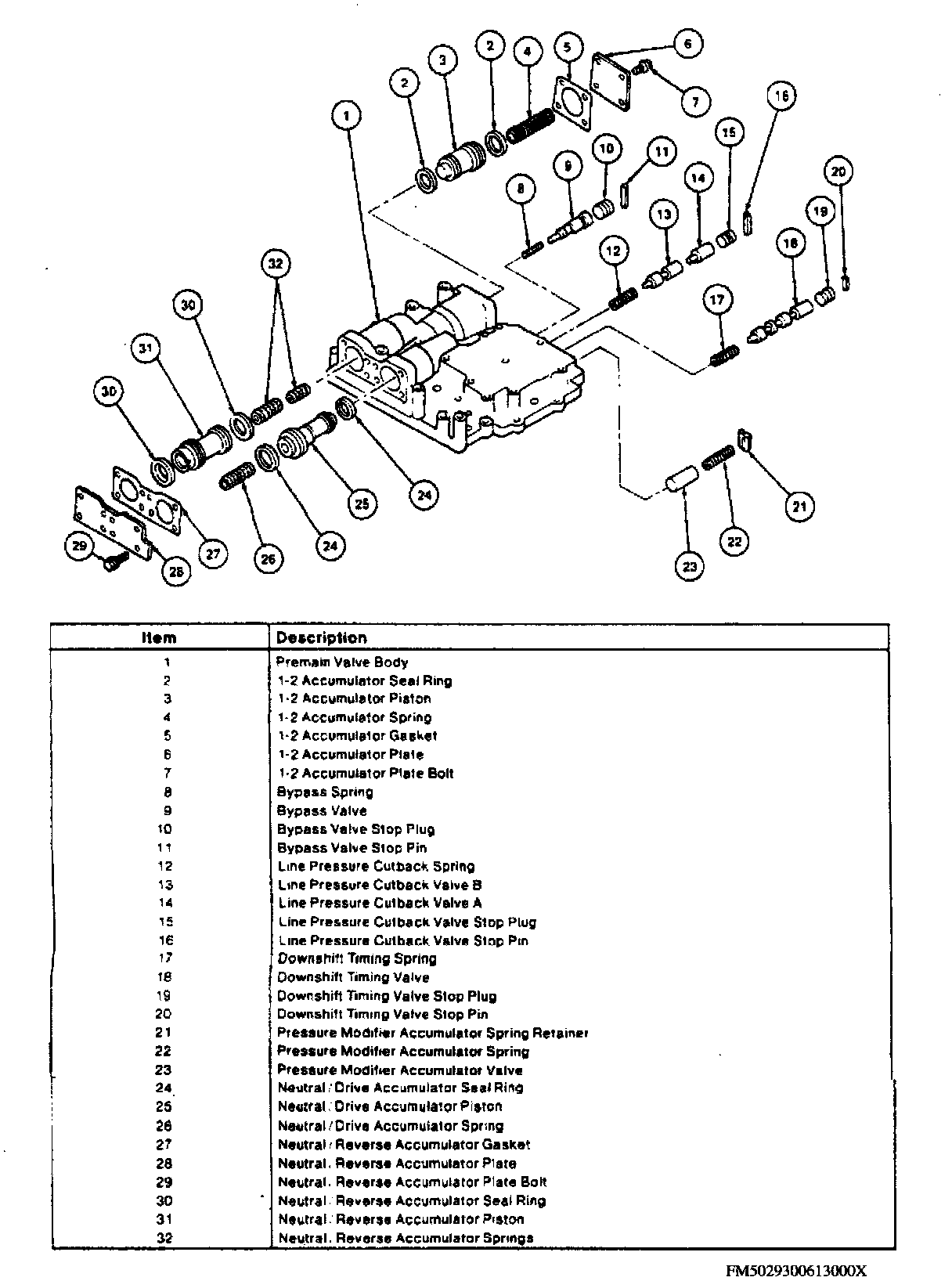
Overhaul Premain Control Body
Exploded View Of Premain Valve Body:

1. Disassemble premain control body as shown.
2. Clean all parts thoroughly in clean solvent as necessary and blow dry with compressed air.
3. Inspect all valve and plug bores for scores and all fluid passages for obstructions.
4. Ensure dry valves and plugs fall from their own weight into their respective bores.
Valve Body Spring Specifications:

5. Inspect and measure all springs for outer diameter and free length.
6. Reverse procedure to assemble, noting the following:
a. Apply automatic transaxle fluid to all parts and bores.
b. Torque neutral/reverse and 1-2 accumulator plate bolts to 58-69 in lbs.
Overhaul Main Control Body
Exploded View Of Main Valve Body:

1. Disassemble main control body as shown in the Exploded View Of Main Valve Body image.
2. Clean all parts thoroughly in clean solvent as necessary and blow dry with compressed air.
3. Inspect all valve and plug bores for scores and all fluid passages for obstructions.
4. Ensure dry valves and plugs fall from their own weight into their respective bores.
Valve Body Spring Specifications:

5. Inspect and measure all springs for outer diameter and free length, as shown in the Valve Body Spring Specifications image.
6. Reverse procedure to assemble. Apply automatic transaxle fluid to all parts and bores.
Overhaul Rear Control Body
Exploded View Of Rear Control Body:

1. Disassemble rear control body as shown in the Exploded View Of Rear Control Body image.
2. Clean all parts thoroughly in clean solvent as necessary and blow dry with compressed air.
3. Inspect all valve and plug bores for scores and all fluid passages for obstructions.
4. Ensure dry valves and plugs fall from their own weight into their respective bores.
5. Roll manual valve on flat surface to check for bent condition. Replace if necessary.
Valve Body Spring Specifications:

6. Inspect and measure all springs for outer diameter and free length, as shown in the Valve Body Spring Specifications image.
7. Reverse procedure to assemble. Apply automatic transaxle fluid to all parts and bores.
ASSEMBLE
Exploded View Of Front And Premain Valve Bodies:

Exploded View Of Main And Rear Valve Bodies:

NOTE: Refer to the Exploded View Of Front And Premain Valve Bodies and the Exploded View Of Main And Rear Valve Bodies for assembling procedure.
CAUTION: When assembling valve body, do not mix up front and rear gaskets. Ensure bolt head letter and control valve body letter match.
Rear Valve Body Check Ball And Fluid Strainer Locations:

Main Valve Body Check Ball And Fluid Strainer Locations:

1. Install three fluid strainers and seven check balls into main valve body and four fluid strainers and two check balls into rear valve body.
2. Install new main rear gasket, rear separator plate, and new rear gasket on rear valve body.
CAUTION: Do not confuse main rear gasket with rear gasket. Ensure bolt head letters to letters on valve body.
3. Install rear valve body onto main control valve body, then hand tighten bolts.
Main Valve Body Check Ball And Fluid Strainer Locations:

4. Install fluid strainer and check ball into main valve body.
Premain Valve Body Check Ball And Fluid Strainer Locations:

5. Install fluid strainer and check ball into premain valve body.
6. Install jet orifices and nuts to main separator plate. Torque jet orifice nuts to 15-19 in lbs.
7. Install new premain rear gasket, new main front gasket, and main separator plate on premain valve body.
CAUTION: Do not confuse main front gasket and premain rear gasket.
8. Install premain valve body onto main valve body, then hand tighten bolts.
CAUTION: Ensure bolt head letters match letters on valve body.
Front Valve Body Check Ball Location:

Premain Valve Body Check Ball Location:

9. Install check balls into premain valve and front valve body.
10. Install new premain front gasket, front separator plate, and new front gasket on front valve body.
CAUTION: Do not confuse premain front gasket and front gasket.
11. Install new premain front gasket, front separator plate, and new front gasket on front valve body.
12. Install front valve body onto premain valve body, then hand tighten bolts.
CAUTION: Ensure bolt head letters match letters shown on valve body.
13. Align valve body with valve body bolts.
14. Torque valve body bolts to 58-69 in lbs, then install fluid strainers.
15. Apply automatic transaxle fluid to new solenoid 0-rings and install line pressure solenoid and torque converter clutch solenoid.
16. Install downshift solenoid, 1-2 shift solenoid, and torque converter clutch control solenoid, then torque solenoid attaching bolts to 58-69 in lbs.
17. Apply automatic transaxle fluid to oil pipe and 0-rings, then install oil pipe. Torque oil pipe mounting bolts to58-69 in lbs.
18. Install oil baffle, then torque oil baffle bolts to 58-69 in lbs.
19. Using transaxle oil temperature sensor remover/replacer tool No. T92C-77000-AH or equivalent, install transaxle oil temperature sensor. Torque sensor to 71-88 in lbs.